エアーナイフは、小量の圧縮エアーで周囲の大気を引き込み、高速で力のあるエアーのカーテンを造ります。増幅の割合は供給エアーに対して約30倍、従来の噴射装置(パイプ穴タイプ)と比較すると、約40〜90%の空気消費量の節約となります。本体はアルミ製で軽く、また、コンパクト設計により、さまざまな場所に容易に取り付けが可能です。ステンレスタイプもあります。
用途例
◎プラスチックボトルの洗浄後の水切り

Model BP012
◎洗浄機内のワークの水切り

Model BP2012
◎マシニングセンター摺動部上の切り粉の除去

Model BP110012

構造
(1)より供給された圧縮空気は、内部につくられたチャンバーに瞬時に充満します。そして、細長い隙間より吐出される圧縮空気が周囲の空気(3)を引き込むことにより、強力なエアーカーテンを造ります。
スーパーエアーナイフ
・増幅率=1:40
・隙間設定=0.05mm

エアーナイフ(標準タイプ)
・増幅率=1:30
・隙間設定=0.05mm

「シムセット」
厚さ=0.05mmのシムが取り付けられていますが流量(力)の加減は、シムを交換することで行えます。(0.03t、0.08t、0.1tの3枚が1組)
機種比較(スーパーエアーナイフ、エアーナイフ欄の数字は、Modelナンバー) ※在庫規格外
流幅 | 76mm | 152mm | 229mm | 305mm | 457mm | 610mm | 762mm | 914mm | 1067mm | 1219mm | 1372mm |
---|---|---|---|---|---|---|---|---|---|---|---|
スーパーエアーナイフ | BP110003 | BP110006 | BP110009 | BP110012 | BP110018 | BP110024 | BP110030 | BP110036 | BP110042 | ※ BP110048 | ※ BP110054 |
エアーナイフ(標準) | BP2003 | BP2006 | BP2009 | BP2012 | BP2018 | BP2024 | BP2030 | BP2036 | BP2042 | ※BP2048 | — |
性能比較 (隙間設定:0.05mm)
供給圧力 (kg/cm2) | 空気消費量 (ℓ/min)at 25mm幅 | 流速(m/s)at 15cm | 騒音値(dBA)at 91cm | 力(g)at 15cm | ||||
---|---|---|---|---|---|---|---|---|
スーパー | 標準 | スーパー | 標準 | スーパー | 標準 | スーパー | 標準 | |
1.4 | 31 | 37 | 25 | 20 | 57 | 65 | 17 | 13 |
2.8 | 48 | 57 | 36 | 30 | 61 | 74 | 31 | 31 |
4.1 | 65 | 76 | 49 | 43 | 65 | 80 | 51 | 57 |
5.5 | 82 | 96 | 60 | 56 | 69 | 83 | 71 | 77 |
6.9 | 99 | 116 | 69 | 66 | 72 | 86 | 91 | 94 |
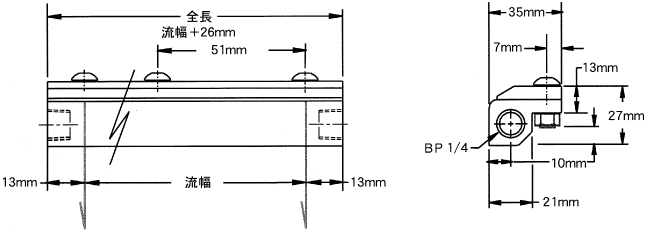
寸法(mm)
スーパーエアーナイフ

エアーナイフ(標準タイプ)
